製品を探す
サイト内検索
他社型式・Quickコード検索
製品を探す
Quickコードカタログの
4ケタコード

絞り込み検索

カテゴリで絞り込む

光電センサ
変位センサ
IIoT
LED照明
画像センサ
非接触温度計・サーモグラフィ
その他製品

耐環境形デジタルゲージ
LG100シリーズ/LG200シリーズ

クラス最高水準の
高精度、耐環境性を実現。

  • 測定範囲全域で繰り返し精度0.3 μmを実現。
  • 保護等級IP67Gで、悪環境下でも使用できます。
  • 5種類の産業⽤インタフェースユニットを⽤意。


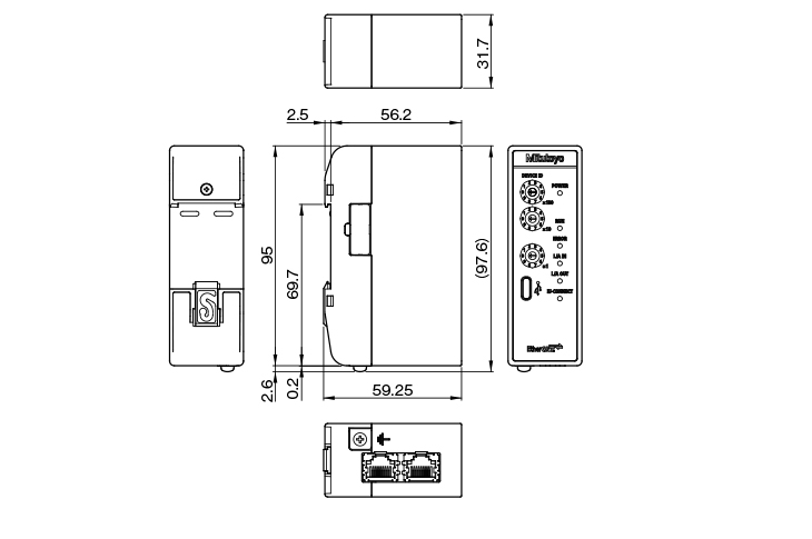
外形寸法図

単位:mm


本 体
LG100-110/0510/0110

LG100-125/0525/0125

LG100-150/0550

LG200-110/0510/0110

カウンタユニット EJ-102N

インタフェースユニット CC-Link

インタフェースユニット PROFINET

インタフェースユニット EtherNet/lP

インタフェースユニット EtherCAT

インタフェースユニット USB

閲覧履歴

ログインするとご使用いただけます。

こちらのシリーズもおすすめです