製品を探す
サイト内検索
他社型式・Quickコード検索
製品を探す
Quickコードカタログの
4ケタコード

絞り込み検索

カテゴリで絞り込む

光電センサ
変位センサ
IIoT
LED照明
画像センサ
非接触温度計・サーモグラフィ
その他製品

長距離レーザBGSセンサ
TOF-Lシリーズ

超コンパクト
長距離検出センサ

  • 検出距離 最長4.5m ※白紙(90%)において
  • TOFセンサとしてコンパクトサイズを実現
  • 長距離でも安定検出

入出力回路図

NPN出力タイプ
PNP出力タイプ

コネクタ式
  • ■ ①から⑤は、コネクタのピンNo.に相当します。
    • 注意事項
    • ■ 電源にスイッチングレギュレーターをご使用の場合は必ずフレームグランド端子を接地してください。
    • ■ センサの配線と高圧線・動力線との同一配管を行われるとノイズにより誤動作、破損の原因となる場合がありますので、別配線としてください。
    • ■ 電源投入時(約300ms)の過渡状態でのご使用は避けてください。

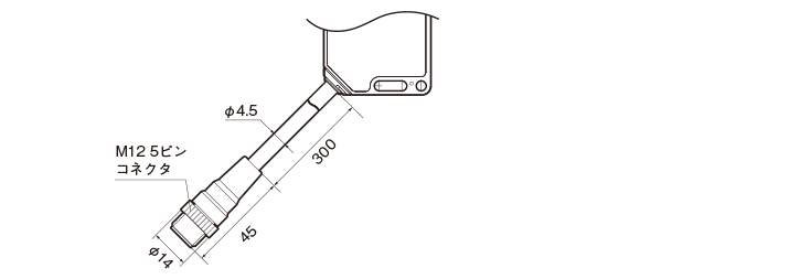
    外形寸法図

    単位:mm


    本 体
    コード式

    コネクタ中継式

    BEF-WK-190床面取付時

    壁面取付時

    コネクタケーブル
    YF2A15-020VB5XLEAX
    YF2A15

    閲覧履歴

    ログインするとご使用いただけます。

    こちらのシリーズもおすすめです