製品を探す
サイト内検索
他社型式・Quickコード検索
製品を探す
Quickコードカタログの
4ケタコード

絞り込み検索

カテゴリで絞り込む

光電センサ
変位センサ
IIoT
LED照明
画像センサ
非接触温度計・サーモグラフィ
その他製品

小型レーザ距離センサ
DT35シリーズ

sick_001

省スペースに対応した
小型レーザセンサ

  • TOFの原理で検出距離12mを達成
  • 赤色レーザタイプ(クラス1, 2)と赤外レーザタイプ(クラス1)
  • アナログ出力と制御出力を装備

接続図

プッシュプル:NPN接続時
NPN出力設定時
プッシュプル:PNP接続時
PNP出力設定時
IO-Linkモード
IO-Linkモード

※アナログ出力として使用する場合。アナログ出力から制御出力に切り換えて使用する場合は、出力1と同様の接続を行ってください。

  • 接続について
  • ■ ①から⑤は、コネクタのピンNo.に相当します。
  • 注意事項
  • ■ 電源にスイッチングレギュレーターをご使用の場合は必ずフレームグランド端子を接地してください。
  • ■ センサの配線と高圧線・動力線との同一配管を行われるとノイズにより誤動作、破損の原因となる場合がありますので、別配線としてください。
  • ■ 電源投入時(約500ms)の過渡状態でのご使用は避けてください。
  • ■ 制御出力はトランジスタ電圧出力型のため、2台以上接続する場合には注意が必要です。ご使用される場合は、当社までお問い合わせください。

外形寸法図

単位:mm


本 体

dimension_01

コネクタケーブル(オプション)
YF2A15-020VB5XLEAX
YF2A15

アクセサリ
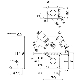
取付金具
BEF-WN-DX50
取付金具(光軸調整可能)
BEF-AH-DX50

閲覧履歴

ログインするとご使用いただけます。

こちらのシリーズもおすすめです