入出力回路図
※BGS-S03□、BGS-2S10□、BGS-2S15□、BGS-2S30□は生産終了製品となります。
NPN出力タイプ
※白色リード線:②はBGS-S03□、BGS-S08□、BGS-2S30□Tにのみ装備
PNP出力タイプ
コネクタ式
※ピンNo.②はBGS-2S10□、-2S15□、-2S30□では使用しません。
- 接続について
- ■ 使用しないリード線は切断し、個別に絶縁テープを巻くなどして、他の端子と接触しないようにしてください。
- ■ ①から④は、コネクタのピンNo.に相当します。
- 注意事項
- ■ 電源にスイッチングレギュレーターをご使用の場合は必ずフレームグランド端子を接地してください。
- ■ センサの配線と高圧線・動力線との同一配管を行われるとノイズにより誤動作、破損の原因となる場合がありますので、別配線としてください。
- ■ 電源投入時(約100ms)の過渡状態でのご使用は避けてください。
- ■ L字型コネクタケーブルをご使用の場合、ケーブルの向きは下図のとおりの向きで固定となります。回転はできませんのでご注意下さい。
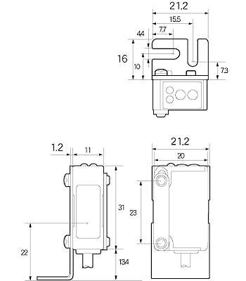
外形寸法図
単位:mm
※BGS-S03□は生産終了製品となります。
本 体(BGS-S03□,BGS-S08□)
コード式

コネクタ式
| |
BGS-S08□ |
BGS-S03□ |
| a |
1 |
2.4 |
外形寸法図
単位:mm
取付金具装着図
コード式(BEF-W150-B 使用時)

コネクタ式(BEF-W150-A 使用時)
| |
BGS-S08□ |
BGS-S03□ |
| a |
1 |
2.4 |
※BGS-2S30NT、BGS-2S30N、BGS-2S15N、 BGS-2S10Nは生産終了製品となります。
(単位:mm)
本 体(BGS-2S30NT,BGS-2S30N, BGS-2S15N,BGS-2S10N)
コード式

取付金具装着図
コード式
(BEF-W140-B使用時)
コネクタ式
(BEF-W140-A使用時)
外形寸法図
単位:mm
コネクタケーブル(オプション)
M84CN-2S、M84CN-5S、M84CN-10S
M84CN-2L、M84CN-5L、M84CN-10L