製品を探す
サイト内検索
他社型式・Quickコード検索
製品を探す
Quickコードカタログの
4ケタコード

絞り込み検索

カテゴリで絞り込む

光電センサ
変位センサ
IIoT
LED照明
画像センサ
非接触温度計・サーモグラフィ
その他製品

標準型BGSセンサ
BGSシリーズ

すべてに高バランスなBGSの
スタンダード

  • 高輝度投光LEDでスポット光がはっきり見える
  • ワークの傾きに強い
  • M8コネクタ型もラインナップ

入出力回路図

NPN出力タイプ
PNP出力タイプ

コネクタ式
  • 接続について
  • ■ 使用しないリード線は切断し、個別に絶縁テープを巻くなどして、他の端子と接触しないようにしてください。
  • ■ ①から④は、コネクタのピンNo.に相当します。
  • 注意事項
  • ■ 電源にスイッチングレギュレーターをご使用の場合は必ずフレームグランド端子を接地してください。
  • ■ センサの配線と高圧線・動力線との同一配管を行われるとノイズにより誤動作、破損の原因となる場合がありますので、別配線としてください。
  • ■ 電源投入時(約100ms)の過渡状態でのご使用は避けてください。
  • ■ L字型コネクタケーブルをご使用の場合、ケーブルの向きは下図のとおりの向きで固定となります。回転はできませんのでご注意下さい。

外形寸法図

単位:mm


本 体
コード式

コネクタ式(BGS-20□除く)
光 軸 BGS-10□ BGS-20□ BGS-30□
a 8.5 8.5 9.6
b 19.3 19.3 20.2

(単位:mm)

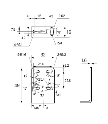
取付金具装着図
コード式
コネクタ式(BGS-20□除く)

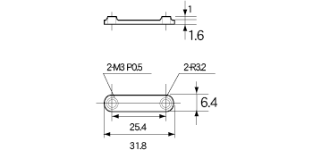
取付金具
BEF-W190
  BGS-10□ BGS-20□ BGS-30□
a 17.9 17.9 17.7
b 34.9 34.9 36.9
ナットプレート

コネクタケーブル(オプション)
M84CN-2S、M84CN-5S、M84CN-10S
M84CN-□S
M84CN-2L、M84CN-5L、M84CN-10L
M84CN-□L

閲覧履歴

ログインするとご使用いただけます。

こちらのシリーズもおすすめです